產品介紹
MBY系列磨機減速機
MBY系列減速器采用了現代齒輪設計制造技術,吸取了國內外同類產品的優點,總結了國內設計制造同類產品的經驗,根據水泥等行業使用工況惡劣、低速重載、安全可靠、使用壽命長等特點,專門精心設計用于水泥磨、煤磨等用途的邊緣傳動機減速器。 MBY系列減速器采用單級減速、帶專用油站、齒輪全部為硬齒面,精度達6級(GB/T10095—2001)以上,高可靠度設計,設計壽命為持久壽命,與國內外同類產品相比,具有體積小、重量輕、外形簡潔大方、操作簡單、維修方便、安全可靠、使用壽命長等特點。
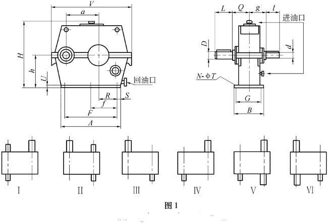
減速器外形尺寸及裝配形式

MBY系列邊緣傳動磨機減速器外形尺寸及裝配形式
型號
輸入軸
輸出軸
i=4
i=4.5~5
i=5.6~6.3
i=7.1
g
d
l
g
d
l
g
d
l
g
d
l
Q
D
L
MBY400
270
120
200
270
100
200
270
90
180
270
80
140
270
160
200
MBY450
300
120
220
300
120
200
300
100
180
300
90
160
300
180
220
MBY500
320
140
240
320
140
200
320
110
180
320
100
160
320
180
240
MBY560
340
160
250
340
160
200
340
120
200
340
110
180
340
200
260
MBY630
370
180
250
370
160
230
370
130
200
370
120
180
370
220
300
MBY710
390
200
280
390
160
250
390
150
220
390
140
200
390
260
340
MBY800
425
220
300
425
180
260
425
18/0
240
425
160
200
425
300
380
MBY900
455
240
340
455
200
260
455
180
260
455
180
220
455
300
400
MBY1000
485
260
380
485
240
280
485
200
280
485
200
250
485
320
420
MBY1100
520
280
400
520
260
300
520
220
300
520
220
280
520
360
440
型號
a
V
H
h
U
A
F
f
R
S
N
T
B
G
油站型號
平均重量(Kg)
MBY400
400
1050
850
400
50
820
700
/
275
60
4
27
450
390
YZ25
1450
MBY450
450
1160
950
450
50
900
780
390
305
60
4
27
510
450
YZ25
1950
MBY500
500
1260
1050
500
50
980
840
420
330
70
6
33
550
480
YZ40
2600
MBY560
560
1400
1170
560
55
1080
940
470
370
70
6
33
590
520
YZ40
3050
MBY630
630
1560
1310
630
55
1200
1060
530
420
70
6
39
640
57
YZ63
3400
MBY710
710
1750
1470
710
55
1350
1190
595
470
80
6
39
690
620
YZ63
4900
MBY800
800
2030
1650
800
70
1480
1280
640
500
100
6
39
760
680
YZ63
5800
MBY900
900
2140
1850
900
70
1650
1450
725
575
100
6
45
820
730
YZ63
8500
MBY1000
1000
2360
2050
1000
90
1820
1620
F/3
630
100
8
45
880
790
YZ125
9250
MBY1100
1100
2570
2250
1100
90
1980
1780
F/3
695
100
8
45
950
860
YZ125
11800
減速器與稀油站連接圖
MBY系列邊緣傳動磨機減速器與稀油站連接圖
| MBY系列磨機減速機 | |||||||||||||||||||||||||||||||||||||||||||||||||||||||||||||||||||||||||||||||||||||||||||||||||||||||||||||||||||||||||||||||||||||||||||||||||||||||||||||||||||||||||||||||||||||||||||||||||||||||||||||||||||||||||||||||||||||||||||||||||||||||||||||||||||||||||||||||||||||||||||||||||||||||||||||||||||||||||||||||||||||||||||||||||||||||||||||||||||||||||||||||||||||||||||||||||||||||||||||||||||||||
|
MBY系列減速器采用了現代齒輪設計制造技術,吸取了國內外同類產品的優點,總結了國內設計制造同類產品的經驗,根據水泥等行業使用工況惡劣、低速重載、安全可靠、使用壽命長等特點,專門精心設計用于水泥磨、煤磨等用途的邊緣傳動機減速器。 MBY系列減速器采用單級減速、帶專用油站、齒輪全部為硬齒面,精度達6級(GB/T10095—2001)以上,高可靠度設計,設計壽命為持久壽命,與國內外同類產品相比,具有體積小、重量輕、外形簡潔大方、操作簡單、維修方便、安全可靠、使用壽命長等特點。 減速器外形尺寸及裝配形式
MBY系列邊緣傳動磨機減速器外形尺寸及裝配形式
減速器與稀油站連接圖 MBY系列邊緣傳動磨機減速器與稀油站連接圖
| |||||||||||||||||||||||||||||||||||||||||||||||||||||||||||||||||||||||||||||||||||||||||||||||||||||||||||||||||||||||||||||||||||||||||||||||||||||||||||||||||||||||||||||||||||||||||||||||||||||||||||||||||||||||||||||||||||||||||||||||||||||||||||||||||||||||||||||||||||||||||||||||||||||||||||||||||||||||||||||||||||||||||||||||||||||||||||||||||||||||||||||||||||||||||||||||||||||||||||||||||||||||

a>